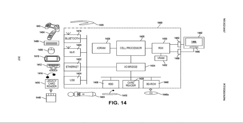
Sony опубликовала новый патент, связанный с PlayStation 5. В нем речь идет о подключении устаревших периферийных устройств от консолей прошлого поколения.
В патенте упоминается множество различных аксессуаров вроде карт памяти, геймпадов DualShock и камеры EyeToy. Большинство устройств при этом отсутствуют в свободной продаже, за исключением PlayStation Move, который используется для игры в виртуальной реальности.
Пользователи предположили, что патент может быть связан с желанием Sony выпустить нативную поддержку PS3 на PS5. Стоит отметить, что наличие патента не гарантирует, что технология будет реализована.
Ранее Sony зарегистрировала патент, позволяющий добавить обратную совместимость с консолями прошлых поколений через изменение тактовой частоты процессоров. Среди прошлых поколений консолей от Sony похожая функция была реализована только у PS2 и первых ревизий PS3. Функция частично поддерживается в PS5 при использовании обновленной подписки PS Plus, однако в этом случае речь идет только о некоторых тайтлах.
